證照課程
金工丙級證照 Jewelry Making
本課程專為準備「金銀珠寶飾品加工 」丙級證照考試的學員設計,無論是初學者,或是已有金工基礎、希望取得證照的人,都能透過本課程扎實提升應考實力。






課程特點
▣ 適合零基礎/初學/基礎加強/自我提升
▣ 教室提供工具設備
▣ 小班制指導,確保每位學員都能實際操作與理解
課程介紹
▣ 親授考試關鍵技巧
▣ 實作+模擬雙軌訓練,強化臨場應變力
▣ 完整對應丙級檢定項目,縮短備考時間
課程介紹
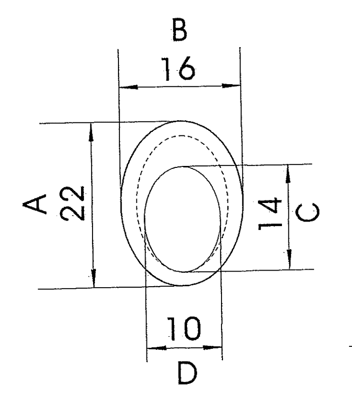
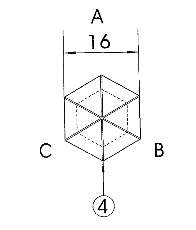
本課程專為「丙級金銀珠寶飾品加工」設計,結合理論講解與實作訓練,讓學員在熟悉檢定流程與題型的同時加強基礎技術。課程從設備操作、安全守則到學科重點解析,逐步建立完整的考試觀念。術科部分採「快速精準訓練法」,針對六大指定試題──三角形、菱形、圓形、橢圓形、正方形、六角形──進行分項講解與實作示範,並傳授常見錯誤修正與應試技巧。課程最後安排全程模擬考試,協助學員掌握時間分配與臨場節奏,顯著提升通過率。
課程內容
設備操作與檢定說明
由老師親自指導設備操作與安全守則,詳細解析「丙級金銀珠寶飾品檢定」內容、評分標準與注意事項。
學科考試重點解析
歸納學科重點,幫助學員快速理解並強化應試記憶。
術科考試實作訓練
老師親授的「快速精準訓練法」!
針對六款試題進行分項講解與示範: 三角形、菱形、圓形、橢圓形、正方形、六角形。
課堂中將公開實作密技、工具運用技巧與關鍵重點, 並傳授檢定常見錯誤與解決方式,強化學員臨場應變力。
針對六款試題進行分項講解與示範: 三角形、菱形、圓形、橢圓形、正方形、六角形。
課堂中將公開實作密技、工具運用技巧與關鍵重點, 並傳授檢定常見錯誤與解決方式,強化學員臨場應變力。
模擬考演練
課程最後一堂進行全程模擬檢定,讓學員熟悉實際考試流程與時間控制,提前發現問題並修正,提升檢定通過率。
適合對象
► 年齡限制:報考資格限制為「年滿15歲或國民中學畢業」,課程報名為14歲(含)以上。
► 程度限制:無限制,零基礎、初學者、進修人士皆可。
► 興趣學習、創業、專長培養、升學、升職進修。
開課資訊
► 本課程為預約制,請先與老師洽談再報名
► 課程時間:
平日班 (週一至五,下午1點-6點,共5日)
假日班 (週六、日,早上9點-12點,共8日)